特性:接触介质的钢材:SS304/SS316L;尺寸:1"-4" 或 DN25-DN100;符合 FDA 177.2600 标准的 EPDM 阀座密封;多种阀体组合;气动执行器:NC、NO 或 AA;360º ...
查询与液体接触的钢材材质:SS304/SS316L
尺寸:1"-4" 或 DN25-DN100
符合FDA 177.2600标准的EPDM座椅密封圈
截止阀和分流阀设计
气动执行器可以是常闭(NC)或常开(NO),并且可以转换。
360º可调节身体
带控制头的选项

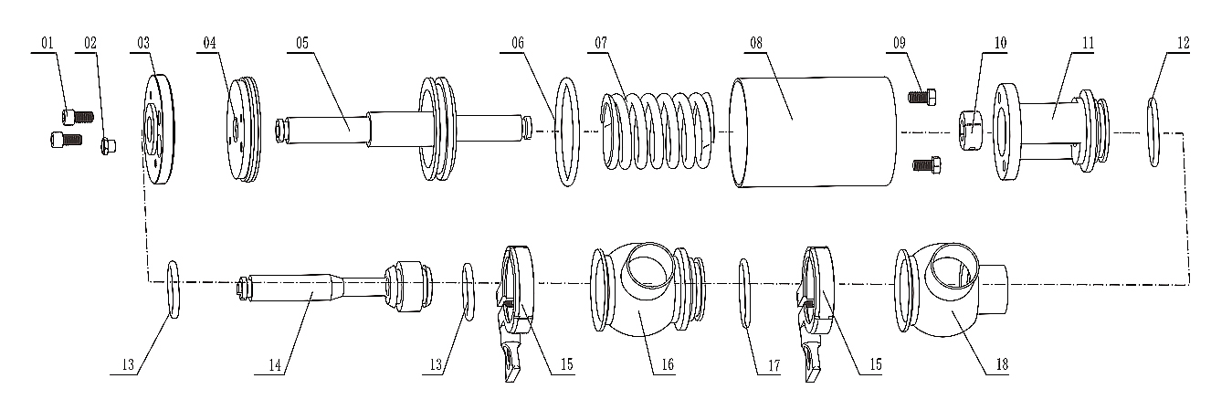
| 项目编号 | 描述 | 材料 | 数量 |
|
| 1 | 六角内六角螺栓 | SS304 | 2 | |
| 2 | 空气阀 | 铜 | 1 | |
| 3 | 帽 | SS304 | 1 | |
| 4 | 腺 | SS304 | 1 | |
| 5 | 活塞 | SS304 | 1 | |
| 6 | 活塞密封 | 北俄勒冈州 | 1 | |
| 7 | 春天 | 60Si2Mn | 1 | |
| 8 | 圆柱 | SS304 | 1 | |
| 9 | 六角螺栓 | SS304 | 2 | |
| 10 | 适配器套筒 | SS304 | 1 | |
| 11 | 括号 | SS304/SS316L | 1 | |
| 12 | 支架密封 | EPDM | 1 | |
| 13 | 阀杆密封 | EPDM | 1 | |
| 14 | 气门杆 | SS304/SS316L | 1 | |
| 15 | 夹钳 | SS304 | 2 | |
| 16 | 下阀体 | SS304/SS316L | 1 | |
| 17 | 身体密封 | EPDM | 1 | |
| 18 | 上阀体 | SS304/SS316L | 1 |

| 尺寸 | d | D | H1 | H2 | H3 | H4 | L | D1 | |
| 焊接 | 夹钳 | ||||||||
| 1英寸 | 22.4 | 25.4 | 50.5 | 52.5 | 68 | 323.5 | 393.5 | 55 | 85 |
| 1½英寸 | 35.1 | 38.1 | 50.5 | 47.5 | 68 | 323.5 | 393.5 | 55 | 85 |
| 2英寸 | 47.8 | 50.8 | 64 | 58 | 75.5 | 335 | 409 | 65 | 85 |
| 2½英寸 | 59.5 | 63.5 | 77.5 | 66 | 87 | 395 | 482 | 80 | 108 |
| 3英寸 | 72.2 | 76.2 | 91 | 76 | 108.5 | 420 | 530 | 90 | 108 |
| 4英寸 | 97.6 | 101.6 | 119 | 110 | 168.5 | 490 | 610 | 110 | 133 |
| DN25 | 25 | 28 | 50.5 | 52.5 | 68 | 323.5 | 393.5 | 55 | 85 |
| DN40 | 37 | 40 | 50.5 | 47.5 | 68 | 323.5 | 393.5 | 55 | 85 |
| DN50 | 49 | 52 | 64 | 58 | 75.5 | 335 | 409 | 65 | 85 |
| DN65 | 66 | 70 | 77.5 | 66 | 108.5 | 420 | 530 | 90 | 108 |
| DN100 | 100 | 104 | 119 | 110 | 168.5 | 490 | 610 | 110 | 133 |
特性:接触介质的钢材:SS304/SS316L;尺寸:1"-4" 或 DN25-DN100;符合 FDA 177.2600 标准的 EPDM 阀座密封;多种阀体组合;气动执行器:NC、NO 或 AA;360º ...
查询特性:接触介质的钢材:SS304/SS316L;尺寸:1"-4" 或 DN25-DN100;符合 FDA 177.2600 标准的 EPDM 阀座密封;多种阀体组合;气动执行器:NC、NO 或 AA;360º ...
查询特性:接触介质的钢材:SS304/SS316L;尺寸:1"-4" 或 DN25-DN100;符合 FDA 177.2600 标准的 EPDM 阀座密封;多种阀体组合;气动执行器:NC、NO 或 AA;360º ...
查询VHH 系列截止阀和分流阀为饮料、食品、乳制品和制药行业最严格的卫生和无菌工艺要求提供了解决方案。...
查询卫生球阀不同于普通工业阀门。它们专为高卫生环境而设计,其核心优势体现在材料选择和结构设计上。我们的卫生球阀均采用SS304和SS316L食品级不锈钢制成,这两种材料各有优势,可满足不同的应用需求。...
温州启明不锈钢有限公司,一家成立于2015年的精密不锈钢阀门及管件制造商和出口商,欣然宣布公司已于2026年之际成功迁至位于温州的全新4000平方米厂房。此次里程碑式的搬迁于2025年12月底完成,标志着公司发展的新篇章,也充分证明了此次搬迁的成功。此次大规模搬迁的顺利进行,充分体现了全体团队成员的不懈努力、相互支持和坚韧不拔的团队精神,也正是启明蓬勃发展的新起点。...
获取报价