ISO Flange Assembly Instructions Optional fastener flanges are joined around the periphery with clamps. D...
查询TSS02 series ISO-K Flange sight glass can be used in ultra-high vacuum systems in a wide range of applications; large, distortion-free viewing area design.
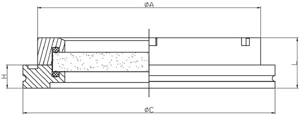
| Specification | A | C | H | L |
| IS063 | 80 | 95 | 12 | 26 |
| IS080 | 95 | 110 | 12 | 26 |
| IS0100 | 115 | 130 | 12 | 26 |
| IS0125 | 140 | 155 | 12 | 26 |
| IS0160 | 165 | 180 | 12 | 26 |
| IS0200 | 225 | 240 | 12 | 26 |

ISO Flange Assembly Instructions Optional fastener flanges are joined around the periphery with clamps. D...
查询ISO-KF fittings can be used in a wide variety of applications including: • Roughing and foreline plumbi...
查询ISO Flange Assembly Instructions Optional fastener flanges are joined around the periphery with clamps. D...
查询ISO Flange Assembly Instructions Opyopnal fastener flanges are joined around the periphery with calmps Do...
查询On July 20th, our 8th anniversary group building event. Gratitude for eight years, building the future together, and creating brilliance again.
On May 20th, a relaxed and enjoyable team building activityTeamwork and work together with one heart.

获取报价