Model No.: FCT81
查询Material: SS304
KF flanges are a sexless design made from 304 stainless, they can be used in a wide range of applications including:
* Roughing and foreline plumbing
* Small pipe systems
* Systems need frequent cleaning or modification
* Research and teaching laboratories
Elastomer Seal:>=1 x10⁻⁸ Torr
Elastomer Seal:>=1 x10⁻⁸ Torr
Viton: -50℃ to 200℃
NBR: -20℃ to 80℃

The lSO-KF components are assembled by inserting a centering ring between the two flange faces,
then securing the assembly with a flange encompassing clamp (see Figure 2)



![]() |
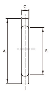
Model for 304 | Size | Max Pressure | A/mm | B/mm | C/mm | N.W./g |
| FLG841K164 | KF16 | 100psi | 31.75 | 30 | 4 | ||
| FLG841K254 | KF25 | 100psi | 41 | 38.8 | 4 | 4.4 | |
| FLG841K404 | KF40 | 75psi | 56 | 52.8 | 4 | 12 | |
| FLG841K504 | KF50 | 50psi | 75 | 65.5 | 4 | 32 |
Use to retain O-ring when system is used at internal pressures over atmospheric
On July 20th, our 8th anniversary group building event. Gratitude for eight years, building the future together, and creating brilliance again.
On May 20th, a relaxed and enjoyable team building activityTeamwork and work together with one heart.

获取报价