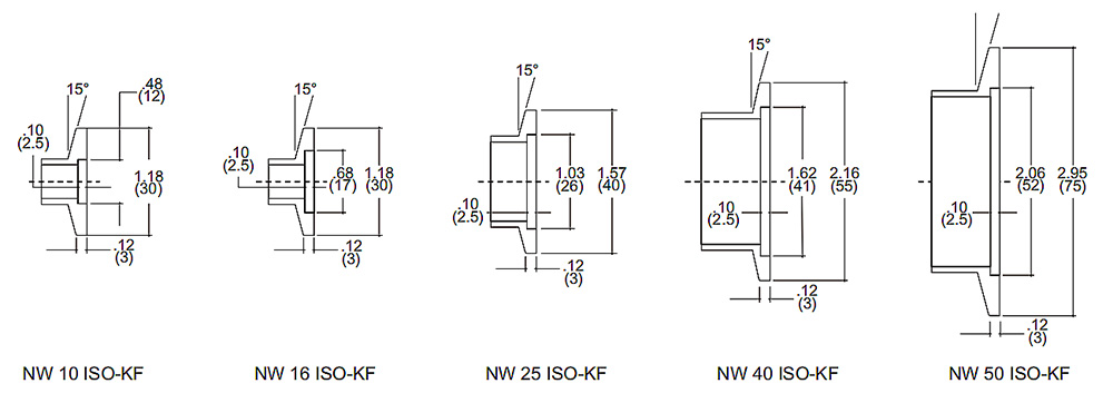
KF法兰孔通常用于连接设备管道。由于其质量稳定、密封效果优异,因此广泛应用于医疗器械、化工、天然气等领域。...
查询KF法兰采用304不锈钢制成,可用于各种格样的应用,包括:
弹性体密封件:≥ 1 x 10⁻⁸ Torr
氟橡胶:-50°C 至 200°C
丁腈:-20°C 至 8°C

ISO-KF 组件的通常是将一个中心支架带O型圈放在两个法兰的密封面之间,然后再用卡箍紧固(见图 2)。

* 材质:304不锈钢
![]() |
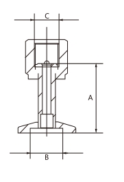
PT螺纹 | PT螺纹 | 尺寸 | A/mm | B/mm | 厘米/毫米 |
|---|---|---|---|---|---|---|
| FDF811K160254 | FDF812K160254 | KF16 | 37 | 17 | 1/4英寸 | |
| FDF811K160504 | FDF812K160505 | KF16 | 41 | 17 | 1/2英寸 | |
| FDF811K250254 | FDF812K250255 | KF25 | 37 | 26 | 1/4英寸 | |
| FDF811K250504 | FDF812K250505 | KF25 | 41 | 26 | 1/2英寸 | |
| FDF811K400254 | FDF812K400255 | KF40 | 37 | 41 | 1/4英寸 | |
| FDF811K400504 | FDF812K400505 | KF40 | 41 | 41 | 1/2英寸 | |
| FDF811K500254 | FDF812K500255 | KF50 | 37 | 52 | 1/4英寸 | |
| FDF811K500504 | FDF812K500505 | KF50 | 41 | 52 | 1/2英寸 |
卫生球阀不同于普通工业阀门。它们专为高卫生环境而设计,其核心优势体现在材料选择和结构设计上。我们的卫生球阀均采用SS304和SS316L食品级不锈钢制成,这两种材料各有优势,可满足不同的应用需求。...
温州启明不锈钢有限公司,一家成立于2015年的精密不锈钢阀门及管件制造商和出口商,欣然宣布公司已于2026年之际成功迁至位于温州的全新4000平方米厂房。此次里程碑式的搬迁于2025年12月底完成,标志着公司发展的新篇章,也充分证明了此次搬迁的成功。此次大规模搬迁的顺利进行,充分体现了全体团队成员的不懈努力、相互支持和坚韧不拔的团队精神,也正是启明蓬勃发展的新起点。...
获取报价